Art-Nr.: 116298

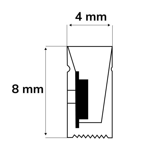
LED NeonPRO930 Custom Flexband B04H08, 24V DC, 10W, IP67, 3000K, 5m Rolle, 180 LED/m, inkl. Clips

Downloads
keine Dokumente vorhanden